При испытании такого вяжущего как цементное тесто в строительной промышленности зачастую используют прибор Вика.

Что такое прибор Вика
Прибор Вика используется при определении нормальной густоты жидких вяжущих материалов, а также для определения сроков схватывания, например, цементного теста. Проведение измерений этих характеристик предусмотрено стандартами ГОСТ 310.3-76.
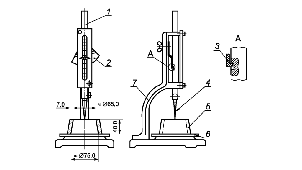
Применяется данный прибор в первую очередь в строительной отрасли. Компактный прибор (185х135х360 мм) комплектуется иглой, пестиком, кольцом и пластиной. Стандартная длина иглы диаметром 1,1 мм составляет 50 мм. Размеры пестика (диаметр х длина) составляют 10х50 мм.
В зависимости от конфигурации они решают дополнительные задачи. Мы предлагает приборы Вика фирмы Testing, в частности:
- Прибор Вика DIN1164
- Прибор Вика ASTM C 187-191
- Прибор Вика BS 4550
- Прибор Вика для гипса DIN 1168
- Автоматический аппарат Вика с 1-6 точками замера EN 196-3
- Управляемый компьютером аппарат Вика с 6 точками замера EN 196
Прибор Вика DIN1164
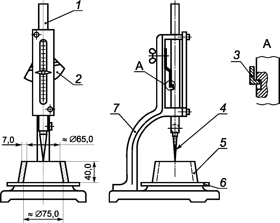
В комплекте игла, плунжер, коническая форма,стеклянная пластина и термометр.
Технические особенности и характеристики
Прибор Вика имеет цилиндрический металлический стержень, свободно перемещающийся в обойме станины. Для закрепления стержня на требуемой высоте служит опорное устройство. Стержень снабжен указателем для отсчета перемещения его относительной шкалы, прикрепленной к станине. Шкала прибора ВИКА имеет цену деления 1 мм.
В процессе определения нормальной густоты цементного теста в нижнюю часть стержня прибора Вика вставляют металлический цилиндрический пестик. При определении схватывания пестик заменяют длинной иглой, а при определении конца схватывания — короткой иглой с кольцеобразной насадкой.
Пестик должен быть изготовлен из нержавеющей стали с полированной поверхностью. Игла должна быть изготовлена из стальной нержавеющей проволоки с полированной поверхностью. И не должна иметь искривлений. Поверхность пестика должна быть чистой.
Запасные части
- Игла для определения начала схватывания, диам. 1.13 мм
- Плунжер схватывания, диам. 10 мм
- Коническое кольцо из твердой резины, диам. 65/75 мм
- Стеклянная пластина в основании, 110 х 110 х 3 мм
- Термометр
Прибор Вика ASTM C 187-191
В комплекте игла, плунжер, коническая форма, стеклянная пластина и термометр.
Предназначен для определения нормальной густоты и сроков схватывания цементного теста, а также толщины корки глинистого теста.
Данный прибор состоит из корпуса, в обойме которого свободно перемещается цилиндрический металлический стержень. Для установки стержня на необходимой высоте используется опорное устройство. На стержне прибора закреплен указатель для отсчета его перемещений относительно шкалы, прикрепленной к станине и имеющей цену деления 1 мм.
Для определении нормальной густоты цементного теста на нижней части стержня прибора Вика крепиться металлический цилиндрический пестик. Для определения схватывания пестик заменяют длинной иглой. При определении конца схватывания — короткой иглой с кольцеобразной насадкой.
Автоматический прибор Вика DIN 1164, EN 196, ASTM C 187
Предназначен для определения времени начального и конечного схватывания цементов или растворных паст. Весь рабочий процесс на данной установке выполняется в автоматическом режиме и дает очень точные и повторяемые результаты, которые печатаются на встроенном принтере.
Дисплей такого автомата имеет большие размеры и высокое разрешение. Он позволяет отображать данные испытания и основные функции аппарата. Прибор имеет встроенные часы и календарь, что позволяет программировать циклы испытаний.
На базе программного обеспечения оператор имеет возможность программирования 5 дополнительных тестовых процедур, определять число проникновений, координаты каждого проникновения и число циклов. Данные возможности прибора Вика необходимы при испытании новых растворов, добавок и при выполнении сложных исследовательских испытаний.
Автоматический прибор Вика позволяет вычислять, отображать и печатать:
- Время, прошедшее с момента приготовления образца (вводится оператором);
- Время начала испытания;
- Остаток времени до следующего проникновения;
- Остаток времени до окончания испытания;
- Количество выполненных и оставшихся проникновений.
Для удобства такой прибор оснащен памятью, которая записывает все параметры испытания и результаты. В памяти могут храниться полные данные более 50 выполненных испытаний.
Приобретая приборы Вика у нас, вы получаете современный прибор, идеально сочетающий в себе высокое качество и выгодную цену.